
Apple has filed a patent for a light sensor on the back of its Watch that can authenticate users. In other words, you could unlock the device automatically whenever you put it on. I, for one, welcome my Wrist ID overlord.
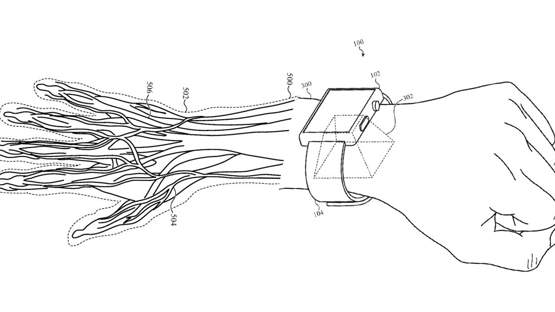
The idea behind the Wrist ID unlock technology is deliciously simple: a component on the back of the wearable fires light into the user’s wrist. This is then used to generate a field image of the area. This vein-filled section of each person’s arm should be as unique as a fingerprint, meaning the scan will be able to ensure that it’s you who put the Apple Watch on.
If you’d like more in-depth info about how it works, you can read the full patent here.

The more I think about the potential of Wrist ID, the more I like it. Yeah, I generally only take my Apple Watch off once or twice a day, but having to type in a physical passcode seems archaic — and is also pretty annoying for such an advanced piece of hardware.
I also wonder whether this added security could be expanded to other devices. One of my favorite Apple Watch features is how it can be used to automatically unlock your Mac — and it’d be great if there was a way Wrist ID could work in a similar way with your phone. Actually achieving this is more complex than you’d think (could someone nearby pick up your phone and it’d unlock?), but we can dream, right?
Of course, there are a few things to consider before we start expecting this to appear in the next Apple Watch. First in line are the potential technical issues with Wrist ID. The Apple Watch already has problems with tattooed skin — and although this seems to have improved over the years, there are still questions about how well tech like this would work on inked areas or darker skin tones.
Secondly, we have to understand that just because Apple has applied for a patent, that doesn’t mean the technology will ever see the light of day.
Despite this, I choose to believe. Wrist ID would be an excellent addition to the Apple Watch, and I’m certain the company could do a shedload of interesting stuff with the tech if it’s implemented.
Get the TNW newsletter
Get the most important tech news in your inbox each week.