
As if a supposed leak of iPhone 12 molds today wasn’t enough, another big rumor about upcoming Apple devices has surfaced: The company apparently is apparently working on a foldable iPhone with two separate but ‘fairly continuos’ panels.
The rumor comes courtesy of leaker Jon Prosser, who claims the current prototype device has not a single bendable display but rather two panels on a hinge:
The memes are funny — but it doesn’t look like they just stuck two phones together.
Even though they’re two separate panels, when the displays are extended, it looks fairly continuous and seamless.
— Jon Prosser (@jon_prosser) June 15, 2020
In other words, rather than being like the Galaxy Fold…

It’s more like the LG V60 Thinq…

…or Microsoft’s Surface Neo:

Except, based on Prosser’s information, it appears Apple will try to make the screens looks “fairly continuous and seamless,” if not necessarily perfectly unblemished:
The memes are funny — but it doesn’t look like they just stuck two phones together.
Even though they’re two separate panels, when the displays are extended, it looks fairly continuous and seamless.
— Jon Prosser (@jon_prosser) June 15, 2020
The phone reportedly has no notch, and has rounded steel edges; the latter seems odd given iPhone 12 leaks suggests the company is moving to flat sides akin to the iPad Pro.
While it’s possible that design is simply a quirk of the prototype, leaker @OnLeaks, who has a longer track record of accurate rumors, called into question at least some of Prosser’s information:
Foldable prototype as you described is BS. Doesn’t necessarily mean you made this up…
— Steve H.McFly (@OnLeaks) June 15, 2020
Still, Prosser stands by his sources:
I work to vet info before I report it. More so recently.
When I’m wrong, I’m wrong. When I’m not, I’m not.
By the time I put my name on something, I’ve done the work to publish it. The responsibility falls on me.
Just because you haven’t heard about it yet doesn’t make it “BS”
— Jon Prosser (@jon_prosser) June 15, 2020
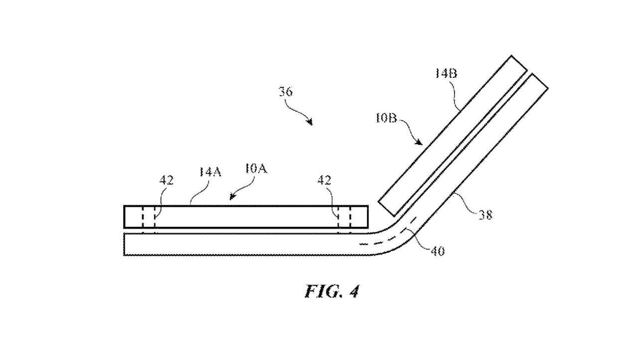
It could just be that @OnLeaks doubts some of Prosser’s specifics. While a foldable iPhone seems like an obvious rumor at this point, it’s not like such a device would simply be joining the bandwagon; as MacRumors points out, rumors of a flexible iPhone date back to 2016 and a patent granted earlier in the year describes a device somewhat similar to what Prosser is positing.
There’s no indication when such a device might launch, if at all. As always, take this rumor with a grain of salt.
Get the TNW newsletter
Get the most important tech news in your inbox each week.